Spot Welding Supplies - Electrodes, Holders, and Accessories - Tuffaloy Products
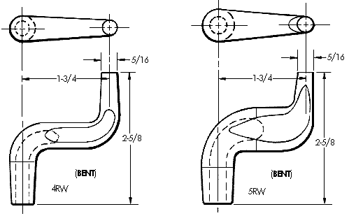
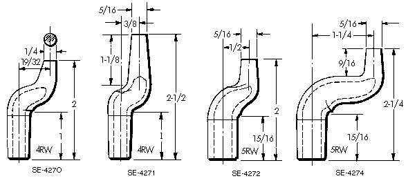
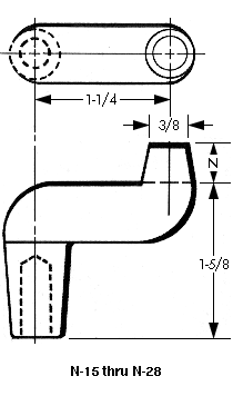
MISCELLANEOUS TIPSDouble bend and flattened tips are made from bar stock. These are some of the standard designs available, but special designs can also be made. These are Class 2 alloy; Class 1 and Class 3 alloy can also be ordered.
|
