TUFFALOY MULTIPLE WELDING
TRISPACER* Triple Tip Holder
U. S. Pat. No. 3,558,848
The Trispacer tip holder will make three spot welds at one time, automatically splitting the current and the pressure equally between the three tips. In doing so, it compensates for variations in work thicknesses and electrode wear - up to 3/16-inch.
The three tip-holding barrels are equidistant from one another, all falling on a 1-5/8 inch diameter circle (in the standard model shown). Using straight tips the weld pattern would form an equilateral triangle. However, the weld pattern can be widely varied by using standard or special bent tips. In fact, the three welds can be made in a straight line.
The Trispacer Holder works in the same simple mechanical way as the Equa-Press Holder: The tip-holding barrels have a limited up-and-down movement, to accommodate work conditions, and are adjusted to deliver equal pressure by the cone-shaped equalizing device in the housing. All current-carrying parts are made of RWMA copper alloys. It is made in two styles: to mount directly to the platen of press-type welders, and with shanks to fit in welder arms.
TRISPACER HOLDER
|
Mounting Style
|
Description
|
Item No.
|
|
| 1-in-shank |
4040 |
350-4040 |
| 1-1/4-in. shank |
4041 |
350-4041 |
| 1-1/2-in. shank |
4042 |
350-4042 |
| Platen |
4043 |
350-4043 |
*Trademark

Lower Electrode
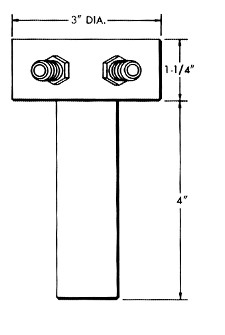
A simple, water-cooled lower electrode is made for use with the Trispacer holder. Its three-inch-diameter face makes it usable with any weld pattern that may be developed for the Trispacer. It comes in three shank diameter models.
 |
Shank Dia.
|
Description
|
Item No.
|
| 1 |
4025 |
350-4025 |
| 1-1/4 |
4026 |
350-4026 |
| 1-1/2 |
4027 |
350-4027 |
|