TUFFALOY SWIVEL TIPS
Swivel tips have ball-jointed swivel heads to compensate for minor misalignment, and to eliminate marking of the work surface. They are all machined from Class 2 alloy bar stock. The S-Series tip water hole does not reach the head. In the OS and OSH models, the water does contact the head, and O-rings are used to seal it. Class 1, class 3 and 10W (copper-tungsten) heads are also available. NOW WITH ANTI-SIEZE LUBRICANT!
 |
The Giant swivel-head electrode for projection welding has a face 2-1/2 inches in diameter, a double O-ring seal, and a replaceable head. It is ideal for accomplishing uniform set-down of multiple projections. It is the largest tip TUFFALOY offers from stock. If a larger one should be needed, TUFFALOY is prepared to supply it. 7 RW. |
 |
 |
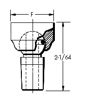
| S-SERIES* (Tuffcap Design) |
S-Series |
 |
 |
| OS-Series |
OSH-Series |
|
Taper No.
|
Face Dia. 'F'
|
S-Series Description
|
S-Series Item No.
|
OS-Series Description
|
OS-Series Item No.
|
OSH-Series Description
|
OSH-Series Item No.
|
| 5-CT* |
7/8
1
1-1/4
|
S-248
S-249
S-250
S-348
|
182-0248
182-0249
182-0250
182-0348
|
OS-348
|
182-1348 |
|
|
|
4RW
|
7/8
1
1-1/4
|
S-350
S-351
S-349
S-353
|
182-0350
182-0351
182-0349
182-0353
|
OS-350
OS-351
OS-349
OS-353
|
182-1350
182-1351
182-1349
182-1353
|
OSH-353
|
182-2353
|
|
5RW
|
7/8
1
1-1/4
1-1/2
2
|
S-354
|
182-0354
|
OS-354
|
182-1354
|
OSH-354
OSH-356
OSH-358
|
182-2354
182-2356
182-2358
|
|
7RW
|
2-1/2
|
|
|
|
|
3360
|
182-3360
|
|
* Will fit Tuffcap adapter shanks having No. 5 male cap.
Note: Standard swivel tilt is approximatel 18°. A 25° swivel is available on request. Add suffix "HS" to part number.
|