TUFFALOY THREADED TIPS
Threaded Electrodes:
- Seat always at the same height.
- Are constructed of Class 2, 3, and Zirc alloy
- Can be changed with standard tools–no special installation tools are needed
- Are easy to change!
HOW TO ORDER
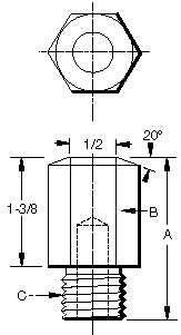
Example: 30512-14-B
| 3 |
05 |
12 |
-14 |
-B |
| CLASS MATERIAL |
HEX SIZE |
OVERALL LENGTH 'A' IN 1/8" INCREMENTS |
THREAD SIZE |
NOSE STYLE |
| CLASS 2
CLASS 3
ZIRC Alloy |
1/2"
5/8"
1"
1-1/4" |
6
7
8
9
10
11
12
13
14
15
16
17
18
19
20 |
10
11
12
13
14
15
16 |
A
B
C
D
E
F |
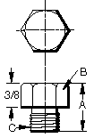
POINTED ELECTRODES
| OVERALL LENGTH |
TIP DIAMETER |
MALE THREAD |
DESCRIPTION |
| 2 |
1
1
1
1-1/4 |
5/8-11
5/8-18
3/4-10
3/4-10 |
5100-11-A
5100-18-A
5100-10-A
5125-10-A |
DOME ELECTRODES
| OVERALL LENGTH |
TIP DIAMETER |
MALE THREAD |
DESCRIPTION |
| 2 |
1
1
1
1-1/4 |
5/8-11
5/8-18
3/4-10
3/4-10 |
5100-11-B
5100-18-B
5100-10-B
5125-10-B |
FLAT ELECTRODES
 |
A
Overall Length
|
B
Tip Dia.
|
C
Male Thread
|
Description
|
| 2 |
1 |
5/8-11 |
5100-11-C |
| 1 |
5/8-18 |
5100-18-C |
| 1 |
3/4-101 |
5100-10-C |
| 1-1/4 |
3/4-10 |
5125-10-C |
TRUNCATED ELECTRODES
 |
A
Overall Length
|
B
Tip Dia.
|
C
Male Thread
|
Description
|
| 2 |
1 |
5/8-11 |
5100-11-E |
| 1 |
5/8-18 |
5100-18-E |
| 1 |
3/4-10 |
5100-10-E |
| 1-1/4 |
3/4-10 |
5125-10-E |
RADIUS ELECTRODES
| OVERALL LENGTH |
TIP DIAMETER |
MALE THREAD |
DESCRIPTION |
| 2 |
1
1
1
1-1/4 |
5/8-11
5/8-18
3/4-10
3/4-10 |
5100-11-F
5100-18-F
5100-10-F
5125-10-F |
"A" NOSE ELECTRODES
| OVERALL LENGTH |
TIP DIAMETER |
MALE THREAD |
DESCRIPTION |
| 3/4
3/4 |
5/8
5/8 |
7/16-14
3/8-16 |
5062-14-A
5062-16-A |
"B" NOSE ELECTRODES
| OVERALL LENGTH |
TIP DIAMETER |
MALE THREAD |
DESCRIPTION |
| 3/4
3/4 |
5/8
5/8 |
7/16-14
3/8-16 |
5062-14-B
5062-16-B |
"C" NOSE ELECTRODES
 |
A
Overall Length
|
B
Tip Dia.
|
C
Male Thread
|
Description
|
| 3/4 |
5/8 |
7/16-14 |
5062-14-C |
| 3/4 |
5/8 |
3/8-16 |
5062-16-C |
"E" NOSE ELECTRODES
 |
A
Overall Length
|
B
Tip Dia.
|
C
Male Thread
|
Description
|
| 3/4 |
5/8 |
7/16-14 |
5062-14-E |
"F" NOSE ELECTRODES
| OVERALL LENGTH |
TIP DIAMETER |
MALE THREAD |
DESCRIPTION |
| 3/4
3/4 |
5/8
5/8 |
7/16-14
3/8-16 |
5062-14-F
5062-16-F |
1/2" HEXAGON DRY ELECTRODES
EX.: H3-05007-12-F |
| H
Hex |
3
Alloy |
-050
Hex, Size across Flats |
07
Over-All Length in 1/8" Increments |
-12
Thread |
-F
Nose Configuration |
| H |
2
3
Z |
050 |
06
07
08 |
12
14
16 |
A=POINTED NOSE
B=DOME NOSE
C=FLAT NOSE
D=OFFSET NOSE
E=TRUNCATED NOSE
F=RADIUS NOSE |
| STOCKED PART NUMBERS
H2-05007-16-B
H2-05007-16-C
H3-05006-16-F
H3-05007-16-A
H3-05006-16-F
HZ-05006-16-F
HZ-05007-16-A
HZ-05007-16-B
HZ-05007-16-C
HZ-05007-16-F |
THREADED PM HOLDERS
 |
Thread Size
|
Size 1
|
Size 2
|
5/8-11
3/4-10
7/8-14
|
350-4580
350-4581
350-4582
|
350-4590
350-4591
350-4592
|
Click Here to go to Platen-Mounted Holders information.
< Back to Tuffaloy Products
|